Báo cáo đề xuất cấp GPMT dự án nhà máy cà phê

Báo cáo đề xuất cấp lại giấy phép môi trường dự án nhà máy cà phê nâng công suất từ 3.000 tấn/năm lên 4.350 tấn/năm.

Ngày đăng: 29-09-2025

417 lượt xem

MỤC LỤC............................................................................. 1

DANH MỤC CÁC TỪ VÀ KÝ HIỆU VIẾT TẮT............................ 4

DANH MỤC CÁC BẢNG................................................................ 5

DANH MỤC CÁC HÌNH............................................................ 7

CHƯƠNG I........................................................................................... 8

THÔNG TIN CHUNG VỀ DỰ ÁN ĐẦU TƯ............................................... 8

1.1.  Tên chủ dự án đầu tư........................................................................... 8

1.2.  Tên dự án đầu tư................................................................................ 8

1.3.  Công suất, công nghệ, sản phẩm sản xuất của dự án đầu tư............... 11

1.3.1.  Công suất hoạt động của dự án đầu tư............................................ 11

1.3.2.  Công nghệ sản xuất của dự án đầu tư.............................................. 11

1.3.3.  Sản phẩm của dự án đầu tư........................................................... 20

1.4.   Nguyên liệu, nhiên liệu, vật liệu, phế liệu, điện năng, hóa chất sử dụng, nguồn cung cấp điện, nước của dự án đầu tư.............. 21

1.4.1.  Nhu cầu nguyên, nhiên, vật liệu chính của dự án phục vụ thi công........ 21

1.4.2.  Nhu cầu nguyên, nhiên, vật liệu chính của dự án phục vụ giai đoạn vận hành.... 22

1.5.  Các thông tin khác liên quan đến dự án đầu tư........... 26

1.5.1.  Khối lượng và quy mô các hạng mục xây dựng tại dự án đầu tư............ 26

1.5.2.  Danh mục máy móc, thiết bị tại dự án đầu tư............................. 29

1.5.3.  Tổng mức đầu tư......................................................................... 30

1.5.4.  Tổ chức quản lý và thực hiện tại dự án đầu tư.......................... 31

1.5.5.  Tiến độ thực hiện dự án đầu tư................................................. 31

CHƯƠNG II........................................................................................................ 32

SỰ PHÙ HỢP CỦA DỰ ÁN ĐẦU TƯ VỚI QUY HOẠCH, KHẢ NĂNG CHỊU TẢI CỦA MÔI TRƯỜNG................. 32

2.1.   Sự phù hợp của dự án đầu tư với quy hoạch bảo vệ môi trường quốc gia, quy hoạch tỉnh, phân vùng môi trường.......... 32

2.2.  Sự phù hợp của dự án đầu tư đối với khả năng chịu tải của môi trường....... 32

2.2.1.  Khả năng chịu tải của môi trường không khí..................................... 32

2.2.2.  Khả năng chịu tải của môi trường nước.......................................... 33

2.2.3.  Đối với chất thải rắn phát sinh trong quá trình hoạt động............. 34

Chương III.......................................................................................... 35

ĐÁNH GIÁ HIỆN TRẠNG MÔI TRƯỜNG NƠI THỰC HIỆN DỰ ÁN ĐẦU TƯ...35

3.1.  Dữ liệu về hiện trạng môi trường và tài nguyên sinh vật................. 35

3.2.  Mô tả về môi trường tiếp nhận nước thải của dự án................... 35

3.2.1.  Đặc điểm tự nhiên khu vực nguồn nước tiếp nhận nước thải.......... 35

3.2.2.  Chất lượng nguồn tiếp nhận nước thải................................................. 40

3.3.   Đánh giá hiện trạng các thành phần môi trường đất, nước, không khí nơi thực hiện dự án...41

3.3.1.  Tiếng ồn, vi khí hậu và không khí xung quanh........................... 42

3.3.2.  Nước mặt.......................................................................................... 44

3.3.3.  Kết quả quan trắc đối với môi trường đất........................................... 44

Chương IV........................................................................................ 45

ĐÁNH GIÁ, DỰ BÁO TÁC ĐỘNG MÔI TRƯỜNG CỦA DỰ ÁN ĐẦU TƯ VÀ ĐỀ XUẤT CÁC CÔNG TRÌNH, BIỆN PHÁP BẢO VỆ MÔI TRƯỜNG...... 45

4.1.   Đề xuất các công trình, biện pháp bảo vệ môi trường trong giai đoạn thi công, xây dựng dự án.... 45

4.1.1.  Về công trình, biện pháp xử lý nước thải................................ 45

4.1.2.   Về công trình, biện pháp lưu giữ rác thải sinh hoạt, chất thải xây dựng và chất thải nguy hại...... 49

4.1.3.  Về công trình, biện pháp xử lý bụi, khí thải............................... 53

4.1.4.  Về công trình, biện pháp giảm thiểu tiếng ồn, độ rung...................... 55

4.1.5.  Các biện pháp bảo vệ môi trường khác.................................... 56

4.2.  Đề xuất các công trình, biện pháp bảo vệ môi trường trong giai đoạn dự án đi vào vận hành.. 57

4.2.1.  Công trình, biện pháp thoát nước mưa, thu gom và xử lý nước thải.... 57

4.2.2.  Công trình biện pháp xử lý bụi, khí thải.............................. 69

4.2.3.  Công trình, biện pháp lưu giữ, xử lý chất thải rắn sinh hoạt.......... 83

4.2.4.  Công trình, biện pháp lưu giữ, xử lý chất thải công nghiệp thông thường...84

4.2.5.  Công trình, biện pháp lưu giữ, xử lý chất thải nguy hại..................... 85

4.2.6.  Công trình, biện pháp giảm thiểu tiếng ồn, độ rung............................. 88

4.2.7.  Phương án phòng ngừa, ứng phó sự cố môi trường........................... 89

4.3.  Tổ chức thực hiện các công trình, biện pháp bảo vệ môi trường....... 99

4.3.1.  Danh mục công trình, biện pháp bảo vệ môi trường của dự án đầu tư..... 99

4.3.2.  Kế hoạch xây lắp các công trình xử lý chất thải, bảo vệ môi trường, thiết bị quan trắc nước thải, khí thải tự động, liên tục......... 99

4.3.3.  Kế hoạch tổ chức thực hiện các biện pháp bảo vệ môi trường khác.... 99

4.3.4.   Tóm tắt dự toán kinh phí đối với từng công trình, biện pháp bảo vệ môi trường..100

4.3.5.  Tổ chức, bộ máy quản lý, vận hành các công trình bảo vệ môi trường.... 103

4.4.  Nhận xét về mức độ chi tiết, độ tin cậy của các kết quả đánh giá, dự báo......105

CHƯƠNG V.......................................................... 107

NỘI DUNG ĐỀ NGHỊ CẤP LẠI GIẤY PHÉP MÔI TRƯỜNG.............. 107

5.1.  Nội dung đề nghị cấp phép đối với nước thải................................ 107

5.2.  Nội dung đề nghị cấp phép đối với bụi, khí thải........................ 108

5.3.  Nội dung đề nghị cấp phép đối với tiếng ồn, độ rung:................ 110

CHƯƠNG VI................................................................................... 112

KẾ HOẠCH VẬN HÀNH THỬ NGHIỆM CÔNG TRÌNH XỬ LÝ CHẤT THẢI VÀ CHƯƠNG TRÌNH QUAN TRẮC MÔI TRƯỜNG CỦA DỰ ÁN......... 112

6.1.  Kế hoạch vận hành thử nghiệm công trình xử lý chất thải của dự án đầu tư....112

6.1.1.  Thời gian dự kiến vận hành thử nghiệm................................ 112

6.1.2.   Kế hoạch quan trắc chất thải, đánh giá hiệu quả xử lý của các công trình, thiết bị xử lý chất thải........... 112

6.2.  Chương trình quan trắc chất thải (tự động, liên tục và định kỳ) theo quy định của pháp luật... 113

6.2.1.  Chương trình quan trắc môi trường định kỳ.......................... 113

6.2.2.  Chương trình quan trắc tự động, liên tục chất thải........................... 114

6.2.3.  Hoạt động quan trắc môi trường định kỳ, quan trắc môi trường tự động, liên tục khác theo quy định của pháp luật có liên quan hoặc theo đề xuất của chủ dự án đầu tư: Không.....115

6.3.  Kinh phí thực hiện quan trắc môi trường hằng năm........................ 115

Chương VII............................................................................................. 116

CAM KẾT CỦA CHỦ DỰ ÁN ĐẦU TƯ.................................... 116

PHỤ LỤC BÁO CÁO....117

CHƯƠNG I

THÔNG TIN CHUNG VỀ DỰ ÁN ĐẦU TƯ

1.1. Tên chủ dự án đầu tư

-  Chủ dự án đầu tư: Công ty Cổ phần Quốc tế

-  Địa chỉ trụ sở chính: Khu công nghiệp Trà Đa mở rộng, phường Pleiku, tỉnh Gia Lai.

-  Người đại diện theo pháp luật của chủ dự án đầu tư: .......

-  Chức vụ: Giám đốc.

-  Điện thoại: ......

-  Thư điện tử:..........

-  Giấy chứng nhận đăng ký doanh nghiệp Công ty cổ phần số ...., do phòng Doanh nghiệp và Kinh tế tập thể thuộc Sở Tài chính tỉnh Gia Lai cấp, đăng ký lần đầu ngày 16/03/2017, đăng ký thay đổi lần thứ 6 ngày 17/07/2025.

1.2. Tên dự án đầu tư:

Nhà máy cà phê (Nâng công suất từ 3.000 tấn/năm lên 4.350 tấn/năm)

- Địa điểm dự án đầu tư: Nhà máy được xây dựng tại Khu công nghiệp Trà Đa mở rộng, phường Pleiku, tỉnh Gia Lai với diện tích đất sử dụng là 13.035,5 m2. Các hướng tiếp giáp như sau:

+ Phía Bắc giáp đường đất.

+ Phía Nam giáp đường quy hoạch KCN và Công ty TNHH MTV Anh Mỹ Gia Lai (Nhà máy chế biến gỗ và hàng nội thất).

+ Phía Đông giáp Công ty sản xuất vật liệu Phúc Thịnh Hoàng.

+ Phía Tây giáp Công ty cổ phần phát triển kinh doanh Thăng Long (Nhà máy sản xuất hàng công nghiệp tiêu dùng).

Tọa độ các điểm khép góc của Nhà máy như sau:

Bảng 1.1. Tọa độ các điểm khép góc của Nhà máy

 

Số hiệu góc

Toạ độ VN 2000

X

Y

1

1551151

450623

2

1551146

450564

3

1551367

450553

4

1551373

450611

Thuộc tờ bản đồ địa hình phường Pleiku, tỉnh Gia Lai, tỷ lệ 1:10.000, kinh tuyến trục 1080 30’, múi chiếu 30.

Hình 1.1. Vị trí địa lý của Nhà máy

-   Cơ quan thẩm định thiết kế xây dựng, cấp các loại giấy phép có liên quan đến môi trường của dự án đầu tư:

+ Giấy phép xây dựng số 01/GPXD ngày 23/01/2025 do Ban Quản lý Khu kinh tế tỉnh Gia Lai cấp cho Công ty Cổ phần Quốc tế.

+ Quyết định số 113/QĐ-BQLKKT ngày 24/10/2023 của Ban Quản lý Khu kinh tế tỉnh Gia Lai về việc cho Công ty Cổ phần Quốc tế thuê đất để xây dựng Nhà máy cà phê;

+ Hợp đồng thuê đất số 04/HĐTĐ ngày 30/10/2023 giữa Ban Quản lý Khu kinh tế tỉnh Gia Lai và Công ty Cổ phần Quốc tế.

+ Quyết định chấp thuận chủ trương đầu tư đồng thời chấp thuận nhà đầu tư số 94/QĐ-BQLKKT do Ban Quản lý Khu Kinh tế tỉnh Gia Lai cấp ngày 07/09/2023.

+ Quyết định chấp thuận điều chỉnh chủ trương đầu tư đồng thời chấp thuận nhà đầu tư số 69/QĐ-BQLKKT do Ban Quản lý Khu Kinh tế tỉnh Gia Lai cấp lần đầu ngày 07/09/2023, điều chỉnh lần thứ nhất ngày 28/06/2025.

+ Giấy phép môi trường số 5/GP-TNMT ngày 11/01/2024 của Phòng Tài nguyên và Môi trường thành phố Pleiku cấp cho Công ty Cổ phần Quốc tế đầu tư dự án Nhà máy cà phê  tại Khu công nghiệp Trà Đa mở rộng, xã Trà Đa, thành phố Pleiku, tỉnh Gia Lai (nay là Lô D1-4 Khu công nghiệp Trà Đa mở rộng, phường Pleiku, tỉnh Gia Lai).

Quy mô của dự án đầu tư: vốn đầu tư của dự án 180.000.000.000 VNĐ (Một trăm tám mươi tỷ đồng Việt Nam).

+ Phân loại theo tiêu chí quy định của pháp luật về đầu tư công: Căn cứ theo khoản 3, Điều 10, Luật đầu tư công số 58/2024/QH15 được Quốc hội nước Cộng hòa xã hội chủ nghĩa Việt Nam khóa XV, kỳ họp thứ 8 thông qua ngày 29 tháng 11 năm 2024 và có hiệu lực thi hành từ ngày 01 tháng 01 năm 2025. Theo đó, dự án Nhà máy cà phê thuộc tiêu chí phân loại dự án nhóm B (Dự án thuộc lĩnh vực công nghiệp có vốn đầu tư từ 120 tỷ đồng đến dưới 2.000 tỷ đồng). Dự án thuộc Danh mục các Dự án đầu tư nhóm III ít có nguy cơ tác động xấu đến môi trường quy định tại khoản 5, điều 28, Luật Bảo vệ môi trường theo quy định tại Mục II.2 Phụ lục V ban hành kèm theo Nghị định số 05/2025/NĐ-CP ngày 06/01/2025 của Chính phủ (Dự án có cấu phần xây dựng không thuộc loại hình sản xuất, kinh doanh, dịch vụ có nguy cơ gây ô nhiễm môi trường, có phát sinh nước thải, bụi khí thải phải được xử lý hoặc có phát sinh chất thải nguy hại phải được quản lý theo quy định về quản lý chất thải).

- Yếu tố nhạy cảm về môi trường (quy định tại Khoản 4 Điều 25 Nghị định số 08/2022/NĐ-CP ngày 10 tháng 01 năm 2022 của Chính phủ quy định chi tiết một số điều của Luật bảo vệ môi trường được sửa đổi, bổ sung tại Khoản 6 Điều 1 Nghị định số 05/2025/NĐ-CP ngày 06/01/2025): Dự án không có yếu tố nhạy cảm môi trường.

- Loại hình sản xuất, kinh doanh, dịch vụ: Chế biến cà phê hoà tan và cà phê rang xay.

- Phân nhóm dự án đầu tư: Cơ sở thuộc Danh mục các Dự án đầu tư nhóm III ít có nguy cơ tác động xấu đến môi trường quy định tại khoản 5, điều 28, Luật Bảo vệ môi trường theo quy định tại Mục II.2 Phụ lục V ban hành kèm theo Nghị định số 05/2025/NĐ-CP ngày 06/01/2025 của Chính phủ (Dự án có cấu phần xây dựng không thuộc loại hình sản xuất, kinh doanh, dịch vụ có nguy cơ gây ô nhiễm môi trường, có phát sinh nước thải, bụi khí thải phải được xử lý hoặc có phát sinh chất thải nguy hại phải được quản lý theo quy định về quản lý chất thải), có phát sinh nước thải, bụi, khí thải xả ra môi trường phải được xử lý theo quy định về quản lý chất thải khi đi vào vận hành chính thức.

Đối chiếu theo quy định tại Điều 39, Điều 41 Luật Bảo vệ môi trường và Điều 26 Nghị định số 131/2025/NĐ-CP ngày 12/06/2025 của Chính phủ quy định phân định thẩm quyền của chính quyền địa phương 2 cấp trong lĩnh vực quản lý nhà nước của Bộ Nông nghiệp và Môi trường, dự án Nhà máy cà phêthuộc đối tượng cấp Giấy phép môi trường, thẩm quyền cấp Giấy phép môi trường thuộc UBND tỉnh Gia Lai cấp.

Nội dung báo cáo được thực hiện theo biểu mẫu quy định tại Phụ lục IX (Mẫu báo cáo đề xuất cấp, cấp lại giấy phép môi trường của dự án đầu tư nhóm II không thuộc đối tượng phải thực hiện đánh giá tác động môi trường và dự án đầu tư nhóm III) Phụ lục kèm theo Nghị định số 05/2025/NĐ-CP ngày 06/01/2025 của Chính phủ.

1.3.Công suất, công nghệ, sản phẩm sản xuất của dự án đầu tư

1.3.1.Công suất hoạt động của dự án đầu tư

- Theo Giấy phép môi trường số 5/GP-TNMT ngày 11/01/2024 do Phòng Tài nguyên và Môi trường thành phố Pleiku cấp thì quy mô dự án như sau:

+ Chế biến cà phê hoà tan là 3.000 tấn sản phẩm/năm.

+ Diện tích đất sử dụng là 13.082,56 m2.

-  Theo Quyết định chấp thuận điều chỉnh chủ trương đầu tư đồng thời chấp thuận nhà đầu tư số 69/QĐ-BQLKKT do Ban Quản lý khu kinh tế tỉnh Gia Lai cấp lần đầu ngày 07/09/2023, điều chỉnh lần thứ nhất ngày 28/06/2025 thì quy mô dự án như sau:

+ Chế biến cà phê hoà tan: 3.000 tấn sản phẩm/năm.

+ Chế biến cà phê rang xay: 1.350 tấn sản phẩm/năm.

+ Diện tích đất sử dụng là: 13.035,5 m2

Bảng 1.2. Công suất sản xuất của dự án

 

 

STT

 

 

Công suất dự án

Theo Giấy phép môi trường số 5/GP-TNMT ngày 11/01/2024

(tấn sản phẩm/năm)

Theo Báo cáo đề xuất cấp lại GPMT

(tấn sản phẩm/năm)

1

Chế biến cà phê hoà tan

3.000

3.000

2

Chế biến cà phê rang xay

-

1.350

TỔNG CỘNG

3.000

4.350

Nguồn: Công ty Cổ phần Quốc tế........

1.3.2. Công nghệ sản xuất của dự án đầu tư

❖ Quy trình công nghệ chế biến cà phê hoà tan

Hình 1.2. Sơ đồ quy trình công nghệ chế biến cà phê hoà tan tại nhà máy

❖ Thuyết minh quy trình công nghệ sản xuất

- Tiếp nhận nguyên liệu:

Nguyên vật liệu chính (cà phê sấy phun) và một số nguyên vật liệu phụ (Bột kem không sữa, đường, muối, …) được cung cấp từ các Nhà cung cấp nằm trong danh sách được phê duyệt.

Nguyên phụ liệu về kho được QC, QA kiểm tra tình trạng bao bì, nhãn mác và sắp xếp chất vào kho theo đúng tiêu chuẩn.

Nguyên liệu được chở trên xe sạch, QC tiến hành kiểm tra tình trạng của sản phẩm. Sản phẩm cũng được kiểm tra về mặt cảm quan về các mùi lạ, mức độ sạch. Không có mùi, không có chất lượng bất thường, thành phần gây dị ứng nếu có phải được công bố rõ ràng. Lô nguyên liệu bị từ chối nếu không tuân thủ các tiêu chuẩn.

Nhà cung cấp được giám sát hay đánh giá trực tiếp hàng năm tùy theo tính chất và mức độ rủi ro nguyên liệu, rủi ro gian lận đối với nguyên liệu.

- Tiếp nhận bao bì:

Vật liệu đóng gói phù hợp với đặc điểm kỹ thuật và quy định của công ty (QCVN 12-1:2011/BYT quy định kỹ thuật quốc gia về an toàn và vệ sinh đối với bao bì, dụng cụ tiếp xúc trực tiếp với thực phẩm bằng nhựa tổng hợp).

Bao bì mới, được bao kín và được vận chuyển trên xe tải sạch và khô, tránh bị nhiễm côn trùng và bụi.

Khi nhà cung cấp giao bao bì, QC lấy mẫu và kiểm tra việc tuân thủ quy cách vật liệu đóng gói. Nếu chất lượng được thông qua, bao bì được nhận và lưu trữ.

Khu vực để bao bì sạch sẽ, khô ráo, thông thoáng. Bao bì được đặt trên pallet.

Cách tường 30-50 cm.

Hàng năm, Đội trưởng HACCP kiểm tra sự phù hợp theo quy định ATTP.

- Lưu trữ nguyên liệu

Nguyên liệu được lưu giữ trong kho sạch, khô thoáng. Việc lưu trữ nhằm mục đích ổn định chất lượng sản phẩm, sẵn sàng cho sản xuất.

Các bao của một lô nguyên liệu được đặt trên các pallet, tách biệt giữa các lô.

Chú ý: Sữa bột là nguyên liệu gây dị ứng, phải được để tại khu vực riêng tránh lây nhiễm sang các sản phẩm thông thường.

- Cân, phối Trộn

Khi có kế hoạch sản xuất. Bộ phận sản xuất sẽ tiếp nhận nguyên phụ liệu từ kho bảo quản tiến cân và phối trộn theo công thức của từng loại hàng. Công suất máy trộn: 200kg/h.

Quá trình trộn diễn ra trong thời gian từ 10 - 15 phút bằng máy trộn.

Bao gồm nguyên vật liệu chính và nguyên vật liệu phụ, tỷ lệ từng loại nguyên vật liệu phụ thuộc vào từng dòng sản phẩm cà phê hòa tan.

- Rà kim loại (CCP)

Bột thành phẩm sau khi trộn sẽ cho qua máy rà kim loại. Các Bột thành phẩm nghi nhiễm từ sẽ loại ra khỏi máy.

Kiểm tra máy trước khi sản xuất theo “ Hướng dẫn vận hành máy rà kim loại”.

Mẫu test: SuS: 2.0mm, Fe: 1.2 mm.

Tần suất kiểm tra máy kiểm tra đầu ca, cuối ca sản xuất và kiểm tra đèn báo 1h/lần trong quá trình vận hành.

-  Đóng gói cấp 1 (OPRP)

Nhân viên vận hành máy thiết lập trọng lượng cần chiết rót, máy sẽ tự động rót đủ trọng lượng đã cài đặt và hàn miệng túi lại.

-  Đóng gói cấp 2

Que sẽ được cho vào túi/hộp theo đúng số que quy định trên bao bì.

Miệng bao bằng máy hàng nhiệt sau đó chuyển sang công đoạn đóng thùng carton. Thành phẩm đóng gói được đặt trên pallet.

-  Đóng gói cấp 3

Các túi sau khi được ép miệng bao được cho vào thùng carton theo quy định từng loại sản phẩm và chuyển đến kho lưu trữ.

-  Lưu kho thành phẩm

Những thùng hàng sau khi đạt chất lượng được đưa lên pallet, kiểm đúng số lượng và chuyển vào khu vực kho thành phẩm

Hàng chỉ giữ trong kho trong khoảng thời gian ngắn và được luân chuyển xuất ra theo nguyên tắc vào trước ra trước.

Các lô thành phẩm và các loại hàng được treo thẻ kho nhận diện và theo dõi nhập xuất tồn.

Kho được giữ sạch, thông thoáng, các cửa có bố trí rèm nhựa màu vàng ngăn côn trùng, có gắn bẫy đèn keo bắt côn trùng và đặt bẫy keo dính chuột định kỳ theo SSOP kiểm soát động vật gây hại.

Dịch vụ kiếm soát động vật gây hại được thực hiện bởi dịch vụ chuyên nghiệp VFC.

- Giao hàng, phân phối

Trước khi xuất hàng, nhân viên kho kiểm đếm số lượng theo đơn hàng để đảm bảo số lượng là đúng theo hợp đồng.

Xe tải sạch được kiểm tra để chất hàng. Công nhân đưa từng thùng hàng chất lên thùng xe (đã trải bạt hoặc đặt pallet).

Nhân viên giao hàng chịu trách nhiệm giám sát, bảo vệ hàng trong suốt quá trình vận chuyển đến nơi giao hàng.

❖ ​Quy trình công nghệ chế biến cà phê rang xay

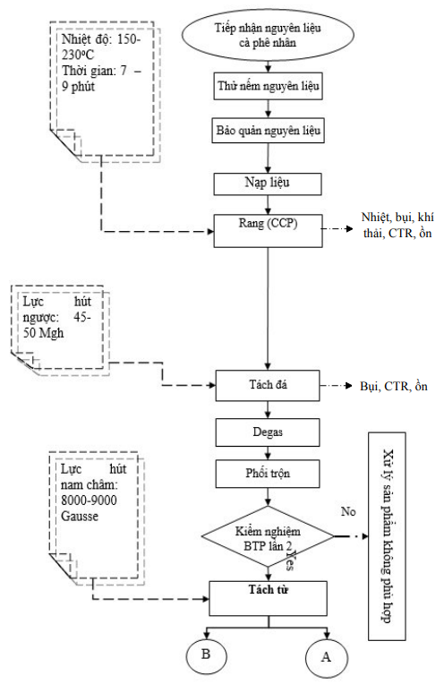
Hình 1.3. Sơ đồ quy trình công nghệ chế biến cà phê rang xay tại nhà máy

Thuyết minh quy trình công nghệ sản xuất

- Tiếp nhận nguyên liệu:

Nguyên vật liệu chính (Cà phê nhân) được cung cấp từ các Nhà cung cấp nằm trong danh sách được phê duyệt.

Nguyên liệu được chở trên xe sạch, được cân và kiểm tra trước khi nhập kho. Nhân viên QC lấy mẫu của từng bao để kiểm chất lượng. QC tiến hành kiểm tra tình trạng của sản phẩm. Sản phẩm cũng được kiểm tra về mặt cảm quan về các mùi lạ, mức độ sạch. Các xét nghiệm khác đảm bảo chất lượng khác được thực hiện trong phòng thí nghiệm vật lý với các mẫu thu được: độ ẩm, không có mùi, không có chất lượng bất thường, thành phần gây dị ứng nếu có phải được công bố rõ ràng… Hồ sơ của các kết quả được lưu giữ. Lô nguyên liệu bị từ chối nếu không tuân thủ các tiêu chuẩn.

Nhà cung cấp được giám sát hay đánh giá trực tiếp hàng năm tùy theo tính chất và mức độ rủi ro nguyên liệu, rủi ro gian lận đối với nguyên liệu.

- Tiếp nhận bao bì:

Vật liệu đóng gói phù hợp với đặc điểm kỹ thuật và quy định của công ty (QCVN 12-1:2011/BYT quy định kỹ thuật quốc gia về an toàn và vệ sinh đối với bao bì, dụng cụ tiếp xúc trực tiếp với thực phẩm bằng nhựa tổng hợp).

Bao bì mới, được bao kín và được vận chuyển trên xe tải sạch và khô, tránh bị nhiễm côn trùng và bụi.

Khi nhà cung cấp giao bao bì, QC lấy mẫu và kiểm tra việc tuân thủ quy cách vật liệu đóng gói. Nếu chất lượng được thông qua, bao bì được nhận và lưu trữ.

Khu vực để bao bì sạch sẽ, khô ráo, thông thoáng. Bao bì được đặt trên pallet.

Khoảng cách từ túi đến tường và di động ít nhất là 30-50 cm.

Hàng năm, các nhà cung cấp COA của các vật liệu đóng gói (sơ cấp – cấp 1).

Đội trưởng HACCP kiểm tra sự phù hợp theo quy định ATTP.

- Lưu trữ nguyên liệu

Nguyên liệu được lưu giữ trong kho sạch, khô thoáng. Việc lưu trữ nhằm mục đích ổn định chất lượng sản phẩm, sẵn sàng cho sản xuất.

Các bao của một lô nguyên liệu được đặt trên các pallet, tách biệt giữa các lô.

Khoảng cách giữa các ngăn xếp RM và tường, ô tối thiểu là 30 cm.

- Nạp liệu:

Lô nguyên liệu đang tập trung tại phễu nạp, mọi túi được công nhân mở ra để đổ vào phễu. Công nhân nhặt rác, tạp chất bị kẹt trên lưới an toàn cho vào thùng rác chuyên dụng. Công suất máy nạp liệu: 1.000 kg/h

- Rang:

Khi nhiệt độ trống rang đạt 2000C tiến hành cho nguyên liệu ở phễu vào trống rang.

Thời gian của quá trình rang khi bắt đầu nạp cà tới thành phẩm đạt yêu cầu khoảng 18-24 phút. Nhiệt độ thành phẩm khi kết thúc công đoạn rang khoảng 200- 240°C. Thời gian, nhiệt độ của quá trình rang phụ thuộc vào từng sản phẩm.

Quá trình diễn ra hoàn toàn tự động.

Nhà máy sử dụng 2 máy rang: 1 máy rang Probat 60 kg và 1 máy rang Brambati 180 kg.

- Tách đá:

Quá trình tách đá diễn ra ra theo nguyên tắc tỷ trọng. Cà phê được hút ngược lên bồn bằng quạt hút có lực hút 45 - 50Mgz. Đá có tỷ trọng nặng hơn sẽ rơi xuống khay, đảm bảo không còn đá trong sản phẩm.

Hạt cà phê sẽ được đề gá và ủ bằng khí Nito để đảm bảo hương vị và chất lượng sản phẩm.

- Phối trộn:

Thành phẩm hạt rang sau khi được degas sẽ được phối trộn theo công thức riêng của mỗi loại sản phẩm. Quá trình trộn diễn ra trong thời gian 10 - 15 phút. Công suất máy trộn: 1.000 kg/h.

- Tách từ:

Sau khi thành phẩm trải qua phối trộn, thành phẩm đi qua nam châm tách từ. Lực hút của nam châm là từ 8000 – 9000 gause.

- Sàng tách mẻ:

Thành phẩm đi qua sàng tách mẻ có kích thước lưới sàng 7.2mm. Các hạt trên sàng sẽ được đi tới máy chiết rót sản phẩm dạng hạt. Trước khi cho đóng gói chính thức QC sẽ tiến hành kiểm tra mẫu. Tỷ lệ mảnh vỡ <3%.

- Đóng gói cấp 1 cà phê rang:

Bao bì được kiểm tra trước khi đóng gói, nhãn được kiểm tra phù hợp số lô, sản phẩm. Vật liệu đóng gói phải đảm bảo đúng yêu cầu.

Nhân viên vận hành cài đặt các thông số của máy theo sản phẩm chuẩn bị đóng gói. Kiểm tra trọng lượng từng gói. Trọng lượng tịnh được kiểm soát đúng theo Thông tư 21/2014/TT-BKHCN.

Sau khi chiết rót xong, chuyển các gói cà phê tới máy hàn miệng bao để hàn kín miệng bao.

QC giám sát trọng lượng quá trình đóng gói mỗi giờ/ lần. Thành phẩm đóng gói được đặt trên pallet. Máy đóng gói: 2.500 kg/h.

- Đóng gói cấp 2 cà phê rang:

Các gói cà phê cấp 1 được công nhân cho vào thùng. Số lượng tùy thuộc vào từng sản phẩm. Sau đó đưa qua máy dán thùng để dán kín nắp thùng.

- Xay:

Cà phê đã rang và phối trộn được đưa vào xay.

Máy xay tự động có hệ điều hành PLC. Công suất: 600 kg/h.

Nhân viên vận hành lựa chọn chế độ xay phù hợp cho từng loại sản phẩm mà không cần canh chỉnh.

- Đóng gói cấp 1 cà phê xay:

Cà phê sau xay sẽ tới máy đóng gói tự động. Máy sẽ tự chiết rót và hàn miệng túi để cho ra túi thành phẩm cuối cùng.

Bao bì được kiểm tra trước khi đóng gói, nhãn được kiểm tra phù hợp số lô, sản phẩm. Vật liệu đóng gói phải đảm bảo đúng yêu cầu.

Nhân viên vận hành cài đặt các thông số của máy theo sản phẩm chuẩn bị đóng gói. Kiểm tra trọng lượng từng gói. Trọng lượng tịnh được kiểm soát đúng theo Thông tư 21/2014/TT-BKHCN. QC giám sát trọng lượng quá trình đóng gói mỗi giờ/ lần. Thành phẩm đóng gói được đặt trên pallet.

- Đóng gói cấp 2 cà phê xay:

Các gói cà phê cấp 1 được công nhân cho vào thùng. Số lượng tùy thuộc vào từng sản phẩm. Sau đó đưa qua máy dán thùng để dán kín nắp thùng.

-Lưu kho thành phẩm

Những thùng hàng sau khi đạt chất lượng được đưa lên pallet, kiểm đúng số lượng và chuyển vào khu vực kho thành phẩm, hàng hoá sẵn sàng cho việc xuất bán.

Hàng chỉ giữ trong kho trong khoảng thời gian ngắn và được luân chuyển xuất ra theo nguyên tắc vào trước ra trước.

Các lô thành phẩm và các loại hàng được treo thẻ kho nhận diện và theo dõi nhập xuất tồn.

Kho được giữ sạch, thông thoáng, các cửa có bố trí rèm nhựa màu vàng ngăn côn trùng, có gắn bẫy đèn keo bắt côn trùng và đặt bẫy keo dính chuột định kỳ theo SSOP kiểm soát động vật gây hại.

Dịch vụ kiếm soát động vật gây hại được thực hiện bởi dịch vụ chuyên nghiệp VFC.

-Giao hàng, phân phối

Trước khi xuất hàng, nhân viên kho kiểm đếm số lượng theo đơn hàng để đảm bảo số lượng là đúng theo hợp đồng.

Xe tải sạch được kiểm tra để chất hàng. Công nhân đưa từng thùng hàng chất lên thùng xe (đã trải bạt hoặc đặt pallet).

Nhân viên giao hàng chịu trách nhiệm giám sát, bảo vệ hàng trong suốt quá trình vận chuyển đến nơi giao hàng.

1.3.3.Sản phẩm của dự án đầu tư

Sản phẩm đầu ra của Nhà máy là cà phê hoà tan và cà phê rang xay, cụ thể như sau:.

Bảng 1.3. Sản phẩm của dự án

 

 


STT

 

 

Công suất dự án

Theo Giấy phép môi trường số 5/GP-TNMT ngày 11/01/2024 (tấn sản phẩm/năm)

Theo Báo cáo đề xuất cấp lại GPMT (tấn sản phẩm/năm)

1

Chế biến cà phê hoà tan

3.000

3.000

2

Chế biến cà phê rang xay

-

1.350

TỔNG CỘNG

3.000

4.350

Nguồn: Công ty Cổ phần Quốc tế...

-  Thị trường tiêu thụ định hướng:

+ Nội địa: Các công ty, doanh nghiệp, nhà phân phối, các siêu thị, chuỗi quán,… trên cả nước.

- Xuất khẩu: Các nước khối EU, USA, United Kingdom, Japan, Switzerland, Japan, Switzerland, Korea, Singapore, Russian Federation,…

1.4.Nguyên liệu, nhiên liệu, vật liệu, phế liệu, điện năng, hóa chất sử dụng, nguồn cung cấp điện, nước của dự án đầu tư

1.4.1.Nhu cầu nguyên, nhiên, vật liệu chính của dự án phục vụ thi công

Nguyên vật liệu phục vụ thi công dự án bao gồm các loại sau:

Bảng 1.4: Khối lượng dự kiến các loại vật liệu xây dựng chính của dự án

Stt

Tên vật liệu

ĐVT

Khối lượng

Khối lượng (tấn)

1

Sắt, thép

tấn

250

250

2

Xi măng

tấn

2.200

2.200

3

Gạch xây tường

viên

150.000

405

4

Cát

m3

3.000

4.500

5

Đá các loại

m3

4.200

9.072

6

Tôn lợp mái

m2

8.000

64

7

Đất đào

m3

3.910

7.820

8

Đất đắp

m3

2.500

5.000

Tổng cộng

 

 

29.311

(Nguồn: Hồ sơ thiết kế xây dựng của Nhà máy cà phê..)

Hệ số quy đổi (theo Công văn số: 1784/BXD-VP của Bộ xây dựng về công bố Định mức vật tư trong xây dựng):

-   Cát là 3.000 m3, tương đương với khoảng 4.500 tấn (Khối lượng thể tích xốp của cát tại các mỏ ở Gia Lai trung bình là 1,5 tấn/m3);

-  Đá các loại khoảng 4.200 m3, tương đương với khoảng 9.072 tấn (theo tỷ lệ quy đổi bình quân từ m3 sang tấn của tỉnh Gia Lai đối với đá các loại là 2,16 tấn/m3);

-  Gạch là 150.000 viên, tương đương với khoảng 405 tấn (theo tỷ lệ quy đổi bình quân từ viên sang kg của tỉnh Gia Lai đối với gạch là 2,7 kg/viên);

-  Tôn lợp mái là 8.000 m2, tương đương với khoảng 64 tấn (trọng lượng riêng của tôn sóng là 8 kg/m2);

-  Xi măng các loại là 2.200 tấn;

-  Sắt, thép các loại là 250 tấn;

-  Đất đào, đất đắp là 6.410 m3, tương đương với khoảng 12.820 tấn (tỷ trọng đất lẫn đá là 2 tấn/m3);

❖Nguồn cung cấp:

-  Xi măng, cát, sắt, thép, các vật liệu khác mua tại các cửa hàng vật liệu xây dựng trên địa bàn tỉnh Gia Lai.

-  Đá xây dựng được thu mua tại mỏ đá trên địa bàn tỉnh Gia Lai cách dự án khoảng 15 km.

1.4.2.Nhu cầu nguyên, nhiên, vật liệu chính của dự án phục vụ giai đoạn vận hành

1.4.2.1.Nhu cầu nguyên, vật liệu chính của dự án

-  Nguyên liệu đầu vào chính của sản phẩm cà phê hoà tan là cà phê sấy phun được mua từ các Tập đoàn, công ty lớn của Việt Nam như Intimex, Dakman, Volcafe,…. Ngoài ra còn có một số nguyên vật liệu phụ như: Bột kem không sữa, đường, muối, ….tùy thuộc theo các dòng sản phẩm cà phê hòa tan.

- Nguyên liệu đầu vào chính của sản phẩm cà phê rang xay là hạt cà phê nhân được mua từ các Tập đoàn, công ty lớn của Việt Nam như Intimex, Dakman, Volcafe,….. Cà phê nguyên liệu là cà phê khô đã bóc vỏ. Khối lượng cà phê sản phẩm là 1.350 tấn sản phẩm/năm tương đương 1.363,5 tấn cà phê hạt/năm. Cứ 1,01 tấn nguyên liệu cà phê nhân đầu vào sơ chế ra được 1 tấn cà phê thành phẩm.

-   Năng lực của các nhà cung cấp nguyên liệu được Công ty lựa chọn và ký hợp đồng nhằm đảm bảo cung cấp đủ nhu cầu về sản lượng và chất lượng phục vụ cho hoạt động xuyên suốt của nhà máy.

Bảng 1.5: Dự kiến nhu cầu nguyên liệu, vật tư sản xuất tại dự án

STT

Tên nguyên liệu, vật tư

Khối lượng (tấn/năm)

Nguồn cung cấp

I

Chế biến cà phê hoà tan (Theo Giấy phép môi trường số 5/GP-TNMT ngày 11/01/2024)

01

Cà phê sấy phun

1.560

 

 

 

 

Từ các công ty trong nước

02

Bột kem sữa

600

03

Đường

750

04

Muối và các nguyên vật liệu phụ

90

05

Vật tư đóng gói nguyên liệu (bao bì, thùng carton)

7,2

06

Vật tư đóng gói thành phẩm (bao bì, thùng carton)

28,407

II

Chế biến cà phê rang xay

01

Cà phê nhân

1.363,5

Từ các công ty trong nước

02

Vật tư đóng gói nguyên liệu (bao bì, thùng carton)

3,3

03

Vật tư đóng gói thành phẩm (bao bì, thùng carton)

13

(Nguồn: Công ty Cổ phần Quốc tế....)

1.4.2.2.Nhu cầu sử dụng điện

Nguồn điện được đấu nối từ hệ thống lưới điện 22KV trong khu công nghiệp. Tất cả các nguồn điện của các hạng mục công trình được đi độc lập và đấu nối qua tủ điện tổng. Dự án trang bị 1 TBA 1.250 KVA. Dự kiến nhu cầu sử dụng điện khoảng 1.000 kw/h.

-   Phương án cấp điện: Nguồn điện cung cấp cho Nhà máy được lấy từ lưới điện quốc gia. Nhà máy nằm trong KCN Trà Đa nên hầu hết hạ tầng điện như đường dây điện 22 KV, trạm biến áp ngay hàng rào nhà máy đều được Công ty Điện lực Gia Lai và Công ty phát triển hạ tầng Khu kinh tế tỉnh Gia Lai đầu tư nên việc cung cấp điện rất thuận lợi.

Ngoài ra nhà máy còn sử dụng 01 máy phát điện dự phòng công suất 150 KVA trong trường hợp lưới điện gặp sự cố.

Mục đích sử dụng: Vận hành máy móc, thiết bị và thắp sáng tại nhà máy.

Việc lập dự án đầu tư và báo cáo đề xuất cấp lại giấy phép môi trường (GPMT) đối với nhà máy cà phê nâng công suất từ 3.000 tấn/năm lên 4.350 tấn/năm là một nội dung quan trọng nhằm đảm bảo hoạt động mở rộng sản xuất được thực hiện đúng quy định pháp luật, đồng thời kiểm soát hiệu quả các tác động môi trường phát sinh. Trong bối cảnh ngành chế biến cà phê ngày càng phát triển và nhu cầu tiêu thụ trong nước cũng như xuất khẩu tăng cao, việc nâng công suất nhà máy là cần thiết để đáp ứng thị trường, nhưng phải gắn liền với các giải pháp bảo vệ môi trường bền vững.

Dự án nâng công suất được triển khai trên cơ sở nhà máy hiện hữu, tập trung vào việc cải tiến dây chuyền sản xuất, tối ưu hóa quy trình công nghệ và bổ sung thiết bị nhằm nâng cao năng lực chế biến. Mục tiêu của dự án là tăng sản lượng lên 4.350 tấn sản phẩm mỗi năm, đồng thời duy trì và nâng cao chất lượng sản phẩm, giảm chi phí sản xuất và hạn chế phát sinh chất thải. Việc tận dụng hạ tầng sẵn có giúp giảm chi phí đầu tư, tuy nhiên cũng đặt ra yêu cầu phải đánh giá lại toàn bộ hệ thống môi trường hiện hữu để đảm bảo đáp ứng quy mô mới.

Trong nội dung lập dự án đầu tư, cần trình bày rõ các thông tin cơ bản như tên dự án, chủ đầu tư, vị trí nhà máy, diện tích sử dụng đất, hiện trạng công trình và phương án nâng công suất. Các hạng mục chính của nhà máy cà phê thường bao gồm khu tiếp nhận nguyên liệu, khu rang – xay – chế biến, khu đóng gói, kho nguyên liệu, kho thành phẩm, khu phụ trợ và khu hành chính. Việc bố trí mặt bằng cần được rà soát và điều chỉnh hợp lý để đảm bảo dây chuyền sản xuất hoạt động hiệu quả sau khi nâng công suất.

Quy trình công nghệ chế biến cà phê là nội dung cốt lõi của dự án. Nguyên liệu cà phê sau khi tiếp nhận sẽ được làm sạch, phân loại, sau đó đưa vào công đoạn rang, xay và chế biến tùy theo loại sản phẩm (cà phê bột, cà phê hòa tan hoặc các sản phẩm khác). Sau đó, sản phẩm được đóng gói và bảo quản trước khi xuất xưởng. Việc nâng công suất có thể kéo theo việc tăng số lượng thiết bị rang, xay hoặc nâng cấp hệ thống hiện có, do đó cần đánh giá kỹ lưỡng mức độ phát sinh chất thải tương ứng.

Trong báo cáo đề xuất cấp lại GPMT, việc đánh giá các nguồn phát sinh chất thải là nội dung quan trọng. Khí thải phát sinh chủ yếu từ công đoạn rang cà phê, có thể chứa bụi, khí CO, CO₂ và các hợp chất hữu cơ bay hơi gây mùi. Khi công suất tăng, lượng khí thải cũng tăng theo, do đó cần đảm bảo hệ thống xử lý khí thải hiện hữu đủ năng lực hoặc được nâng cấp phù hợp.

Nước thải phát sinh chủ yếu từ hoạt động vệ sinh thiết bị, nhà xưởng và sinh hoạt của công nhân. Thành phần nước thải thường chứa chất hữu cơ và cặn bẩn, cần được xử lý trước khi xả ra môi trường. Mặc dù không phải là nguồn ô nhiễm lớn, nhưng khi quy mô sản xuất tăng, lượng nước thải cũng tăng, đòi hỏi hệ thống xử lý phải được kiểm tra và nâng cấp nếu cần thiết.

Chất thải rắn trong dự án bao gồm vỏ cà phê, bã cà phê, bao bì, bụi thu gom từ hệ thống lọc và rác sinh hoạt. Một phần chất thải hữu cơ có thể được tận dụng làm nhiên liệu sinh khối hoặc phân bón, góp phần giảm thiểu lượng chất thải. Tuy nhiên, các loại chất thải khác cần được phân loại, thu gom và xử lý theo quy định. Nếu có phát sinh dầu mỡ thải hoặc hóa chất vệ sinh, cần được quản lý như chất thải nguy hại.

Để giảm thiểu tác động môi trường, dự án cần áp dụng các biện pháp kỹ thuật phù hợp. Đối với khí thải, cần lắp đặt hoặc nâng cấp hệ thống xử lý như cyclone, buồng đốt thứ cấp hoặc hệ thống lọc nhằm loại bỏ bụi và mùi trước khi thải ra môi trường. Đối với nước thải, cần đảm bảo hệ thống xử lý hiện hữu có đủ công suất, bao gồm các công đoạn lắng, xử lý sinh học và khử trùng.

Chất thải rắn cần được quản lý chặt chẽ, phân loại tại nguồn và tận dụng tối đa khả năng tái sử dụng. Bã cà phê có thể được sử dụng làm nhiên liệu hoặc nguyên liệu sản xuất phân bón, trong khi bao bì và các vật liệu khác cần được thu gom và chuyển giao cho đơn vị có chức năng xử lý.

Một nội dung quan trọng trong hồ sơ đề xuất cấp lại GPMT là kế hoạch quản lý và giám sát môi trường sau khi nâng công suất. Dự án cần xây dựng chương trình quan trắc định kỳ đối với khí thải, nước thải, tiếng ồn và chất thải rắn. Việc theo dõi thường xuyên giúp đánh giá hiệu quả của các biện pháp bảo vệ môi trường và kịp thời điều chỉnh khi cần thiết.

Ngoài ra, cần xây dựng kế hoạch phòng ngừa và ứng phó sự cố môi trường như sự cố hệ thống xử lý khí thải, cháy nổ trong khu vực rang cà phê hoặc sự cố hệ thống điện. Việc trang bị đầy đủ thiết bị an toàn và đào tạo nhân viên vận hành là yếu tố quan trọng để đảm bảo hoạt động ổn định và an toàn.

Từ góc độ phát triển bền vững, việc nâng công suất cần đi kèm với các giải pháp tiết kiệm năng lượng, tận dụng phụ phẩm và giảm phát thải. Việc sử dụng nhiên liệu sinh khối từ vỏ cà phê, tối ưu hóa quy trình rang và cải tiến công nghệ là những hướng đi hiệu quả giúp giảm chi phí và tác động môi trường.

Tổng thể, việc lập dự án đầu tư và báo cáo đề xuất cấp lại giấy phép môi trường cho nhà máy cà phê nâng công suất từ 3.000 lên 4.350 tấn/năm là một quá trình đòi hỏi sự đánh giá toàn diện về kỹ thuật, môi trường và pháp lý. Một hồ sơ được xây dựng đầy đủ, khoa học và phù hợp với thực tiễn sẽ giúp dự án được phê duyệt thuận lợi, đồng thời tạo nền tảng cho hoạt động sản xuất hiệu quả, ổn định và bền vững trong dài hạn.

 
 

>>> XEM THÊM: Thuyết minh lập dự án nhà máy chế biến xuất khẩu trái cây

GỌI NGAY 0903 649 782
ĐỂ ĐƯỢC TƯ VẤN 

CÔNG TY CỔ PHẦN TƯ VẤN ĐẦU TƯ & THIẾT KẾ XÂY DỰNG MINH PHƯƠNG 

Địa chỉ: 28B Mai Thị Lựu - Khu phố 7, Phường Tân Định, TP.HCM

Hotline:  0903 649 782 - 028 3514 6426

Email:  nguyenthanhmp156@gmail.com , 

Website: www.minhphuongcorp.com

Bình luận (0)

Gửi bình luận của bạn

Captcha