Báo cáo đề xuất cấp GPMT nhà máy chế biến thực phẩm thủy sản

Báo cáo đề xuất cấp giấy phép môi trường (GPMT) nhà máy chế biến thực phẩm thủy sản với công suất là 3.900 tấn/năm. Sản phẩm của Công ty là tôm đông nguyên con, tôm nobashi, tôm vỏ, tôm IQF và tôm đông Block.

Ngày đăng: 09-10-2025

564 lượt xem

THÔNG TIN CHUNG VỀ CƠ SỞ................................................... 7

1.  Tên chủ cơ sở............................................................................ 7

2.  Tên cơ sở................................................................................... 7

3.  Công suất, công nghệ, sản phẩm sản xuất của cơ sở:.................. 9

3.1.   Công suất hoạt động của cơ sở................................................ 9

3.2.   Công nghệ sản xuất của cơ sở............................................. 10

3.3.   Sản phẩm của cơ sở:......................................................... 16

4.  Nguyên liệu, nhiên liệu, điện năng, hóa chất sử dụng, nguồn cung cấp điện, nước của cơ sở...... 16

5.  Các thông tin khác liên quan đến cơ sở........................................ 18

Chương II......................................................................................... 22

SỰ PHÙ HỢP CỦA CƠ SỞ VỚI QUY HOẠCH,............................... 22

KHẢ NĂNG CHỊU TẢI CỦA MÔI TRƯỜNG............................. 22

1.   Sự phù hợp của cơ sở với quy hoạch bảo vệ môi trường quốc gia, quy hoạch tỉnh, phân vùng môi trường........ 22

2.  Sự phù hợp của cơ sở đối với khả năng chịu tải của môi trường........... 23

Chương III............................................................................................. 31

KẾT QUẢ HOÀN THÀNH CÁC CÔNG TRÌNH, BIỆN PHÁP.............. 31

BẢO VỆ MÔI TRƯỜNG CỦA CƠ SỞ.................................................... 31

1.  Công trình, biện pháp thoát nước mưa, thu gom và xử lý nước thải....... 31

1.1.   Thu gom, thoát nước mưa:......................................................... 31

1.2.   Thu gom, thoát nước thải........................................................... 31

1.3.   Xử lý nước thải.......................................................................... 33

2.  Công trình, biện pháp xử lý bụi, khí thải......................................... 39

3.  Công trình, biện pháp lưu giữ, xử lý chất thải rắn thông thường......... 40

4.  Công trình, biện pháp lưu giữ, xử lý chất thải nguy hại................... 41

5.  Công trình, biện pháp giảm thiểu tiếng ồn, độ rung........................ 43

6.  Phương án phòng ngừa, ứng phó sự cố môi trường.......................... 43

7.  Các công trình bảo vệ môi trường của dự án đã điều chỉnh, thay đổi..... 46

7.1.  Công trình xử lý nước thải theo đề án bảo vệ môi trường chi tiết....... 46

7.2   Công trình xử lý nước thải được điều chỉnh theo giấy phép môi trường:...48

8.  Biện pháp bảo vệ môi trường đối với nguồn nước công trình thủy lợi khi có hoạt động xả nước thải vào công trình thủy lợi..... 48

9.  Kế hoạch, tiến độ, kết quả thực hiện phương án cải tạo, phục hồi môi trường, phương án bồi hoàn đa dạng sinh học (nếu có).. 49

Chương IV..................................................................................... 50

NỘI DUNG ĐỀ NGHỊ CẤP GIẤY PHÉP MÔI TRƯỜNG.............. 50

1.  Nội dung đề nghị cấp phép đối với nước thải........................... 50

3.  Nội dung đề nghị cấp phép đối với tiếng ồn, độ rung................ 53

Chương V....................................................................................... 54

KẾT QUẢ HOẠT ĐỘNG VÀ TÌNH HÌNH THỰC HIỆN CÔNG TÁC BẢO VỆ MÔI TRƯỜNG CỦA CƠ SỞ.... 54

1. Thông tin chung về tình hình thực hiện công tác bảo vệ môi trường..... 54

1.1.  Tình hình thực hiện các quy định của pháp luật về công tác bảo vệ môi trường...54

1.2.  Các vấn đề liên quan đến môi trường của chủ cơ sở đã gửi đến cơ quan có thẩm quyền... 54

2. Kết quả hoạt động của công trình xử lý nước thải............................. 54

2.1.  Thông tin về hoạt động với công trình xử lý nước thải...................... 54

2.2.  Kết quả quan trắc môi trường định kỳ đối với nước thải.................. 54

3. Kết quả quan trắc môi trường định kỳ đối với bụi, khí thải.................... 59

3 1. Kết quả phân tích chất lượng khí thải lò hơi năm 2022, 2023 năm 2024 như sau.................. 59

3.2. Kết quả phân tích chất lượng không khí xung quanh năm 2022, 2023 và năm 2024 như sau.....61

4.  Tình hình phát sinh, xử lý chất thải.................................................. 63

5.  Kết quả thanh tra, kiểm tra về bảo vệ môi trường đối với công ty....... 64

Chương VI............................................................................... 65

KẾ HOẠCH VẬN HÀNH THỬ NGHIỆM VÀ CHƯƠNG TRÌNH QUAN TRẮC MÔI TRƯỜNG CỦA CƠ SỞ.... 65

1.  Kế hoạch vận hành thử nghiệm công trình xử lý chất thải................ 65

1.1.   Thời gian dự kiến vận hành thử nghiệm:.................................... 65

1.2.   Kế hoạch quan trắc chất thải, đánh giá hiệu quả xử lý của các công trình, thiết bị xử lý chất thải....... 65

2.  Chương trình quan trắc chất thải định kỳ theo quy định của pháp luật....... 65

2.1.   Chương trình quan trắc môi trường định kỳ..................... 65

Chương VII............................................................................. 68

CAM KẾT CỦA CƠ SỞ.......................................................... 68

Chương I

THÔNG TIN CHUNG VỀ CƠ SỞ

1.Tên chủ cơ sở:

Công ty trách nhiệm hữu hạn thực phẩm thủy sản ...

-  Địa chỉ văn phòng:.......ã Tân Phong, thị xã Giá Rai, tỉnh Bạc Liêu.

-  Người đại diện theo pháp luật của chủ công ty: Ông ........ – Chức vụ: Giám đốc công ty.

-  Điện thoại: ......

-  Giấy chứng nhận đăng ký doanh nghiệp số ..... đăng ký lần đầu ngày 17/3/2009 và đăng ký thay đổi lần thứ 5 ngày 12/8/2015 do Phòng Đăng ký kinh doanh thuộc Sở Kế hoạch và Đầu tư cấp.

2.Tên cơ sở:

Nhà máy chế biến thực phẩm thủy sản 

- Địa điểm: .......xã Tân Phong, thị xã Giá Rai, tỉnh Bạc Liêu.

Vị trí giáp ranh hiện hữu của dự án như sau:

+ Phía Đông: Giáp nhà dân.

+ Phía Tây: Giáp nhà dân.

+ Phía Nam: Giáp Quốc lộ 1A.

+ Phía Bắc: Giáp đất nhà dân.

Sơ đồ vị trí của dự án:

Hình 1. Sơ đồ vị trí của dự án Tọa độ vị trí thực hiện dự án.

Bảng 1. Tọa độ vị trí của dự án (hệ tọa độ VN 2000)

Vị trí

Tọa độ

Tọa độ X (m)

Tọa độ Y (m)

Điểm M1

1001541

544531

Điểm M2

1001582

544472

Điểm M3

1001651

544545

Điểm M4

1001593

544618

-  Các loại giấy phép có liên quan đến môi trường, phê duyệt dự án:

+ Giấy chứng nhận đăng ký doanh nghiệp số........ đăng ký lần đầu ngày 17/3/2009 và đăng ký thay đổi lần thứ 5 ngày 12/8/2015 do Phòng Đăng ký kinh doanh thuộc Sở Kế hoạch và Đầu tư cấp.

+ Giấy chứng nhận quyền sử dụng đất quyền sở hữu nhà ở và tài sản khác gắn liền với đất số .... do UBND thị xã Giá Rai cấp ngày 06/6/2014.

+ Giấy chứng nhận quyền sử dụng đất quyền sở hữu nhà ở và tài sản khác gắn liền với đất số ....... do UBND thị xã Giá Rai cấp ngày 30/10/2014.

+ Giấy chứng nhận quyền sử dụng đất quyền sở hữu nhà ở và tài sản khác gắn liền với đất số .....do UBND thị xã Giá Rai cấp ngày 08/10/2014.

+ Giấy chứng nhận quyền sử dụng đất quyền sở hữu nhà ở và tài sản khác gắn liền với đất số .... do UBND thị xã Giá Rai cấp ngày 06/6/2014.

+ Giấy chứng nhận quyền sử dụng đất quyền sở hữu nhà ở và tài sản khác gắn liền với đất số ..... do UBND tỉnh Bạc Liêu cấp ngày 06/4/2011 cho công ty.

+ Quyết định số 1329/QĐ-UBND ngày 19/6/2009 của UBND tỉnh về việc phê duyệt báo cáo đánh giá tác động môi trường dự án đầu tư xây dựng nhà máy chế biến thực phẩm thủy sản ....

+ Quyết định số 396/QĐ-UBND ngày 28/02/2012 của UBND tỉnh về việc phê duyệt báo cáo đánh giá tác động môi trường dự án đầu tư nâng công suất chế biến nhà máy chế biến thực phẩm thủy sản ....

+ Quyết định số 1245/QĐ-UBND ngày 11/8/2014 của UBND tỉnh về việc phê duyệt bổ sung một phần nội dung báo cáo đánh giá tác động môi trường dự án đầu tư nâng công suất chế biến nhà máy chế biến thực phẩm thủy sản ....

+ Giấy xác nhận số 01/GXN-STNMT ngày 11/3/2015 của Sở Tài nguyên và Môi trường về việc đã thực hiện các công trình, biện pháp bảo vệ môi trường phục vu giai đoạn vận hành của dự án đầu tư nâng cấp công suất chế biến nhà máy chế biến thực phẩm thủy sản....

+ Quyết định số 2099/QĐ-UBND ngày 09/12/2016 của UBND tỉnh về việc phê duyệt đề án bảo vệ môi trường chi tiết của dự án mở rộng nhà máy chế biến thực phẩm thủy sản ...

+ Quyết định số 1034/QĐ-UBND ngày 16/9/2017 của UBND tỉnh về việc phê duyệt điều chỉnh một phần nội dung đề án bảo vệ môi trường chi tiết của dự án mở rộng nhà máy chế biến thực phẩm thủy sản ....

+ Giấy phép xả nước thải vào nguồn nước số 35/GP-UBND ngày 18/8/2021 của UBND tỉnh cấp cho Công ty.

+ Giấy phép khai thác nước dưới đất số 15/GP-UBND ngày 20/5/2021 của UBND tỉnh cấp cho Công ty.

+ Sổ đăng ký chủ nguồn thải chất thải nguy hại số 95.000022.T ngày 06/6/2014 của Sở Tài nguyên và Môi trường cấp cho Công ty.

+ Giấy phép xây dựng số 07/GPXD ngày 01/4/2014 của Giám đốc Sở Xây dựng cấp cho công ty (hạng mục kho lạnh 500 tấn).

+ Quyết định số 232/QĐ-UBND ngày 20/5/2021 của UBND tỉnh phê duyệt tiền cấp quyền khai thác tài nguyên nước của công ty.

+ Giấy chứng nhận thẩm duyệt về phòng cháy chữa cháy số 09/TD-PCCC ngày 17/02/2014 (cấp cho kho lạnh 500 tấn).

+ Giấy chứng nhận thẩm duyệt về phòng cháy chữa cháy số 19/TD-PCCC ngày 15/6/2016 (cấp cho nhà xưởng).

- Quy mô của dự án đầu tư:

+ Phân loại theo tiêu chí quy định của pháp luật về đầu tư công: Dự án thuộc nhóm B (cụ thể mục V. Nhóm B. dự án thuộc lĩnh vực quy định tại mục IV phần A có tổng mức đầu tư dưới 60 tỷ (có tổng mức đầu tư khoảng 50 tỷ đồng), cụ thể điểm h khoản 4 mục IV phần A của phụ lục I. Phân loại dự án đầu tư công ban hành kèm theo Nghị định số 40/2020/NĐ-CP ngày 06/4/2020 của Chính phủ quy định chi tiết thi hành một số điều của Luật Đầu tư công.

+ Phân loại theo tiêu chí quy định của pháp luật về môi trường: Dự án thuộc mục số 16 Phụ lục II danh mục các loại hình sản xuất, kinh doanh, dịch vụ có nguy cơ gây ô nhiễm môi trường ban hành kèm theo Nghị định số 08/2022/NĐ- CP ngày 10 tháng 01 năm 2022 của Chính phủ quy định chi tiết một số điều của Luật Bảo vệ môi trường.

- Yếu tố nhạy cảm về môi trường: công ty đặt tại ấp Khúc Tréo B, xã Tân Phong, thị xã Giá Rai, tỉnh Bạc Liêu không có các yếu tố nhạy cảm về môi trường theo quy định tại khoản 4 Điều 25 Nghị định số 05/2025/NĐ-CP ngày 06/01/2025 của Chính phủ.

- Loại hình sản xuất, kinh doanh, dịch vụ: chế biến thủy sản.

3.Công suất, công nghệ, sản phẩm sản xuất của cơ sở:

3.1.Công suất hoạt động của cơ sở:

Chế biến thủy sản với công suất 3.900 tấn sản phẩm/năm (giảm 600 tấn sản phẩm/năm theo nội dung Quyết định số 1034/QĐ-UBND ngày 16/9/2017 của UBND tỉnh về việc phê duyệt điều chỉnh một phần nội dung đề án bảo vệ môi trường chi tiết của dự án mở rộng nhà máy chế biến thực phẩm thủy sản....).

3.2.Công nghệ sản xuất của cơ sở:

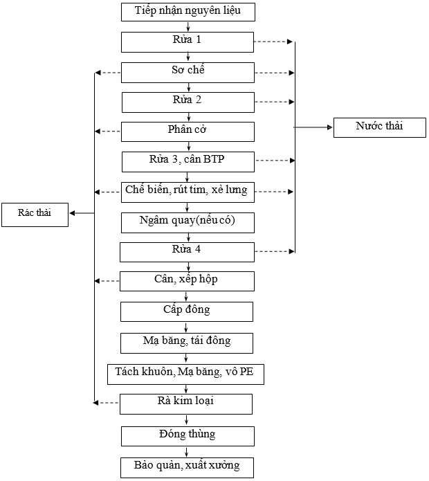
* Quy trình sản xuất tôm đông block

Hình 2. Quy trình sản xuất tôm đông block

Giải thích quy trình:

- Tiếp nhận nguyên liệu: Nguyên liệu được ướp trong thùng đá cách nhiệt ở nhiệt độ ≤ 4oC và vận chuyển về xí nghiệp, nhà máy bằng xe chuyên dùng có sẵn của nhà máy. Bộ phận KCS kiểm tra và đánh giá chất lượng nguyên liệu trước khi tiếp nhận. Nguyên liệu dùng để chế biến tôm vỏ bỏ đầu thường là tôm sú có chất lượng tốt:

+ Mùi tanh tự nhiên.

+ Có màu sắc đặc trưng, sáng bóng.

+ Không có đốm đen nào trên thân.

+ Tôm không bị mềm vỏ, bể vỏ, giãn đốt.

+ Tôm không bị sâu đuôi, đen đuôi.

Rửa lần 1: với mục đích loại bỏ tạp chất và vi sinh vật bám trên thân tôm.

+ Thao tác: đổ nước vào bồn rửa, cho tiếp chlorine với nồng độ 50-100 ppm, cho tiếp đá cây vào bồn và thổi khí tan hết đá để được nước rửa có nhiệt độ ≤ 4oC. Cho tôm vào phễu, băng chuyền nhỏ chuyển tôm nguyên liệu vào bồn rửa, tiến hành thổi khí để chuyển tôm lên băng chuyền lớn, băng chuyền lớn chuyển tôm xuống bàn rung, công nhân hứng tôm bằng rổ nhựa và tiến hành cân để biết số lượng ban đầu của nguyên liệu.

Sơ chế: với mục đích loại bỏ những phần không ăn được, không có giá trị về mặt cảm quan, giá trị kinh tế và theo yêu cầu của quy trình.

+ Thao tác: tay trái cầm nghiêng thân tôm, tay phải cầm dao (hoặc kéo) tách phần vỏ ở đầu ra, cắt bỏ phần râu, mắt tôm và hàm đen, dùng dao cạo sạch gạch tôm và rửa dưới vòi nước cho sạch. Yêu cầu của các thao tác này là phải nhẹ nhàng và đúng kỹ thuật; không làm đứt phần lưỡi hàm bên dưới; phải rửa sạch phần gạch trên thân tôm; tôm luôn được bảo quản bằng đá bào sao cho nhiệt độ thân tôm ≤ 10oC; phế liệu phải được chuyển ngay khỏi khu vực sản xuất để tránh lây nhiễm. Tôm sau khi xử lý sơ bộ được rửa bằng nước sạch đã được làm lạnh và khử trùng.

Rửa lần 2: với mục đích làm sạch tạp chất và vi sinh vật bám trên thân tôm.

+ Thao tác: tôm sau khi xử lý được nhúng qua bồn nước đã được làm lạnh với nồng độ chlorine 20-50 ppm.

+ Yêu cầu: nước rửa có nhiệt độ ≤ 4oC; nước rửa phải sạch và thường xuyên thay nước mới.

- Phân cỡ:

+ Phân cỡ: tách riêng các cỡ, hạng, loại tôm vì mỗi cỡ, hạng, loại tôm có giá thành khác nhau và cũng góp phần làm tăng hiệu quả kinh tế.

Thao tác: tôm sau khi rửa được chuyển lên máy phân cỡ, những con tôm có kích thước nhỏ sẽ rơi xuống nước, những con tôm có kích thước lớn hơn sẽ di chuyển dọc theo các con lăn và rơi xuống máng hứng. Máy phân cỡ chỉ phân sơ bộ kích thước của tôm, độ chính xác chưa cao. Để có cỡ tôm chính xác hơn, công nhân cần phải cân từng con tôm nguyên liệu. Tôm thường có các kích cỡ sau đây: 8/12, 13/15, 16/20, 21/25, 26/30, 31/40, 41/50, 61/70,… Một cỡ tôm bao gồm các con tôm đầu cỡ, giữa cỡ và cuối cỡ.

Yêu cầu: cần phải có độ chính xác cao (0,1g); đơn vị thử cỡ là puond (435,6g); thao tác phải nhẹ nhàng.

+ Phân loại: loại ra những con tôm có chất lượng không đạt yêu cầu quy trình sản xuất (tôm đuôi đen, sâu đuôi, hở đốt, tôm mềm,…).

Thao tác: tôm được đổ ra thành từng đống trên bàn và luôn được phủ đá, công nhân dùng tay cào nhẹ đống tôm ra cho mỏng và tiến hành phân loại.

Yêu cầu: thao tác phải nhẹ nhàng, chính xác; luôn được phủ đá để ổn định nhiệt độ tôm < 10oC.

-   Rửa lần 3: với mục đích loại bỏ hết tạp chất và vi sinh vật.

+ Thao tác: tôm được rửa bằng nước sạch đã được làm lạnh và khử trùng, để ráo rổ tôm để cho quá trình cân tiếp theo sau được chính xác hơn.

+ Yêu cầu: nước rửa phải sạch; nước rửa có nhiệt độ < 4oC; chlorine có nồng độ 20-50 ppm.

-   Cân: với mục đích đảm bảo sự đồng đều về khối lượng tùy theo yêu cầu của khách hàng (1,8kg hoặc 2kg).

+ Thao tác: cho tôm vào rổ và tiến hành cân. Khối lượng sản phẩm cho từng block bao gồm trọng lượng tịnh và phụ trội. Tôm sau khi cân được đổ vào khay, châm nước có nhiệt độ < 4oC vào khay và kèm theo thẻ để chờ xếp khuôn.

+ Yêu cầu: công nhân phải nắm vững tiêu chuẩn quy định để xác định chính xác lượng phụ trội theo từng cỡ tôm.

Chế biến, rút tim, xẻ lưng: Tùy theo nhu cầu mà tiến hành công đoạn rút tim, xẻ lưng các sản phẩm theo yêu cầu khách hàng.

-   Rửa 4: với mục đích loại bỏ hết tạp chất và vi sinh vật.

+ Thao tác: tôm được rửa bằng nước sạch đã được làm lạnh và khử trùng, để ráo rổ tôm để cho quá trình cân tiếp theo sau được chính xác hơn.

+ Yêu cầu: nước rửa phải sạch; nước rửa có nhiệt độ < 4oC; chlorine có nồng độ 20-50 ppm.

Cân, xếp hộp: Khuôn dùng để xếp tôm là khuôn nhôm có nắp truyền nhiệt bằng nhôm. Loại khuôn này thích hợp cho xếp tôm block 1,8kg hoặc 2kg.

+ Mục đích: làm tăng vẻ mỹ quan cho sản phẩm; giảm được sự dập gãy của sản phẩm; tạo độ chặt chẽ cho khối tôm và giảm thể tích cho sản phẩm.

+ Thao tác: tôm được xếp thành từng lớp, mỗi lớp có từ 2-5 hàng theo chiều dọc khuôn tùy theo kích cỡ tôm, xếp tôm theo kiểu lợp mái ngói. Ví dụ: cỡ 8/12 xếp 5 hàng, mỗi hàng 11-12 con; cỡ 13/15 xếp 6 hàng, mỗi hàng 10 con,…. Mặt đáy xếp hai hàng biên trước rồi mới đến hai hàng giữa (hoặc một hàng) mặt trên cùng xếp lưng tôm hướng ra ngoài để dấu chân vào trong khuôn.

+ Yêu cầu: xếp mặt đáy và mặt trên cùng sao cho khi ra bánh tôm chỉ thấy thân tôm mà không thấy chân tôm.

- C​ấp đông:

+ Mục đích: hạ thấp nhiệt độ thân tôm xuống dưới điểm đóng băng để làm chậm sự hư hỏng của thực phẩm đồng thời kéo dài thời gian bảo quản sản phẩm.

+ Thao tác: trước khi xếp vào tủ đông, tôm được thay nước mới; khuôn tôm được đậy nắp truyền nhiệt bằng nhôm; khởi động tủ đông đến khi nhiệt độ của tủ đạt yêu cầu; xếp các khuôn tôm lên các tấm panel của tủ cấp đông.

+ Yêu cầu: Nước châm vào khuôn phải sạch, không có vi sinh vật, nhiệt độ nước < 4oC; nhiệt độ tủ cấp đông -36oC đến -40oC; nhiệt độ tôm sản phẩm phải đạt < -18oC.

-   Mạ băng, tái đông: Tôm sau khi tách khuôn được băng chuyền đưa tiếp sang vòi phun sương (nước mạ băng) có nhiệt độ 0 < toC < 4oC để tạo lớp băng mỏng trên toàn bộ bề mặt block tôm.

+ Mục đích: tạo lớp băng bảo vệ cho sản phẩm; tăng vẻ mỹ quan cho sản phẩm; ngăn chặn sự thăng hoa của nước đá.

+ Yêu cầu: nhiệt độ nước mạ băng 0 < toC < 4oC; thời gian mạ băng 3-5 giây.

-Tách khuôn – mạ băng:

Sau khi kiểm tra đủ thời gian và nhiệt độ cấp đông, thì lấy khuôn ra và chuyển đến bộ phận tách khuôn. Sản phẩm đông lạnh được tháo rời bằng cách chuyển khuôn ngâm trong nước để tách khuôn và lấy sản phẩm ra.

Sau đó, cho tôm vào nước lạnh < 5oC để mạ băng, sao cho lớp băng phủ kín tôm. Mạ băng sản phẩm nhằm làm tăng giá trị thẩm mỹ của sản phẩm, bảo vệ sản phẩm, hạn chế sự bay hơi nước và biến đổi oxy hóa chất béo, ngăn chặn sự mất nước.

-   Rà kim loại: Công đoạn dò kim loại rất quan trọng, nó ảnh hưởng rất lớn đến chất lượng của sản phẩm.

+ Mục đích: phát hiện và loại bỏ kim loại có lẫn trong sản phẩm.

+ Thao tác: cho sản phẩm được hàn kín miệng lên băng chuyền của thiết bị dò có gắn đầu dò kim loại. Nếu phát hiện sản phẩm có chứa kim loại thiết bị điều khiển sẽ tác động làm dừng băng tải và chuông sẽ reo báo hiệu. Tiến hành loại bỏ sản phẩm và kiểm tra lại độ chính xác của máy bằng cách cho mẫu đó chạy qua máy dò kim loại nhiều lần.

+ Yêu cầu: máy dò kim loại phải đặt cân bằng trên sàn, không rung động; sản phẩm đưa vào phải nhẹ nhàng, nằm giữa băng tải; thường xuyên kiểm tra độ nhạy của máy bằng các mẫu thử Fe, Sus,…; tách riêng sản phẩm có chứa kim loại và tiến hành kiểm tra lại sản phẩm; thường xuyên vệ sinh máy sạch sẽ.

- Đóng thùng:

+ Mục đích: bảo quản sản phẩm, tránh được sự hư hỏng có thể xảy ra trong giai đoạn chờ phân phối và tiêu thụ sản phẩm; cung cấp thông tin cho người tiêu dùng; quảng cáo sản phẩm.

+ Thao tác: xếp 06 block tôm có cùng kích cỡ vào thùng carton. Bên ngoài thùng phải ghi đầy đủ các tiêu chí cần thiết như: tên và biểu tượng của nhà máy, tên sản phẩm, kích cỡ, ngày tháng sản xuất, khối lượng tịnh, nhiệt độ bảo quản,… Đai nẹp lại, tùy theo yêu cầu của khách hàng mà sử dụng màu dây khác nhau.

+ Yêu cầu: phải đóng thùng theo từng chủng loại, kích thước; các thông tin ghi trên bao bì phải đầy đủ và rõ ràng.

Bảo quản: các thùng tôm sau khi được bao gói hoàn chỉnh sẽ được chuyển ngay vào kho bảo quản.

+ Mục đích: Duy trì chất lượng của sản phẩm; bảo quản để chờ ngày xuất hàng vì chưa đủ số lượng.

+ Thao tác: cần phải nhanh chóng và nhẹ nhàng. Hàng trong kho được xếp theo từng lô riêng biệt và phải cách tường, sàn, trần theo từng khoảng cách nhất định. Khi xếp hàng vào kho phải theo nguyên tắc vào trước ra trước.

+ Yêu cầu: nhiệt độ trong kho phải ổn định từ -20oC ± 2oC; thời gian bảo quản tối đa 24 tháng kể từ ngày sản xuất; hàng hóa được chất đúng nơi quy định; khi vận chuyển sản phẩm phải mặc đầy đủ đồ bảo hộ lao động cần thiết.

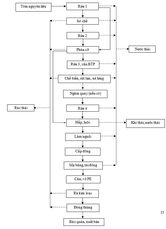
Quy trìn​h sản xuất tôm đông lạnh IQF

Hình 3. Quy trình sản xuất tôm hấp đông lạnh IQF

Giải thích ​quy trình:

+ Tiếp nhận nguyên liệu: Là khâu nhận tôm nguyên liệu và được cân xác định trọng lượng ban đầu, tiến hành rửa sơ bộ lần 1.

+ Tôm hấp đông lạnh: Gồm 2 mặt hàng:

Tôm tươi nguyên con hấp: Tôm tươi nguyên con (không qua sơ chế) sau khi được phân cỡ tiến hành hấp và cấp đông IQF. Sau đó cân, mạ băng trước khi được bao bọc bên ngoài, cuối cùng sản phẩm mang đi rà kim loại, sau đó sản phẩm được đóng thùng đưa vào kho lạnh đông bảo quản ở nhiệt độ ≤ -180C chờ xuất bán.

Tôm chế biến hấp đông lạnh: Tôm nguyên con còn đầu được sơ chế bằng cách lặt đầu, rút gân trước khi chuyển sang công đoạn tiếp theo. Rửa và chế biến. Tùy theo nhu cầu mà tiến hành công đoạn rút tim, xẻ lưng các sản phẩm theo yêu cầu khách hàng.

Tôm được chế biến theo hình thức bỏ đầu lột bỏ hết vỏ, hay lột một phần còn chừa đốt cuối và đuôi. Hoặc tôm được phân nhóm sản phẩm dựa trên cách chế biến khác thực hiện trên phần thịt của thân tôm, như xẻ phần thân ra làm 2 phần hay thực hiện cắt 1 đường thẳng ở lưng tôm giúp việc lột dễ dàng hơn,…

Tôm sau sơ chế thì được đem hấp, tiến hành cấp đông IQF và cân, mạ băng trước khi được bao bọc bên ngoài, cuối cùng sản phẩm mang đi rà kim loại, sau đó sản phẩm được đóng thùng đưa vào kho lạnh đông bảo quản ở nhiệt độ ≤ -180C chờ xuất bán.

3.3.Sản phẩm của cơ sở:

Tổng số lượng thành phẩm của Công ty là 3.900 tấn/năm (từng loại sản phẩm có lượng thành phẩm không cố định, tùy vào nhu cầu phát sinh của khách hàng). Sản phẩm của Công ty là tôm đông nguyên con, tôm nobashi, tôm vỏ, tôm IQF và tôm đông Block.

4.Nguyên liệu, nhiên liệu, điện năng, hóa chất sử dụng, nguồn cung cấp điện, nước của cơ sở:

Nguyên, nhiên liệu phục vụ cho quá trình hoạt động và các sản phẩm đầu ra của Nhà máy được tổng hợp theo bảng số liệu bên dưới.

Bảng 2. Nguyên liệu của Nhà máy

STT

Danh mục

Đơn vị

Nhu cầu sử dụng

1

Tôm thẻ, sú

Tấn/năm

6.900-7.000

Tổng cộng

Tấn/năm

6.900-7.000

Trung bình 1kg thành phẩm/1,5kg tôm nguyên liệu.

Bảng 3. Nhiên liệu của Nhà máy sử dụng

Stt

Tên

Đơn vị

Nhu cầu sử dụng

Ngày

Tháng

Quý

năm

1

Chlorine

kg

7,5

187,5

562,5

2.250

2

Xà phòng

kg

10,5

262,5

787,5

3.150

3

Nước đá

Tấn

45

1.125

3.375

13.500

4

Bao bì carton

cái

600

15.000

45.000

180.000

5

Túi PE

cái

3.750

93.750

281.250

1.125.000

6

Dây niền thùng

kg

90

2.250

3.750

27.000

7

Gas NH3

lít

18

450

1.350

5.400

8

Dầu bôi trơn

lít

90

2.250

3.750

27.000

9

Dầu DO

lít

300

7.500

22.500

90.000

-    Nguồn điện: Lượng điện sử dụng tại Công ty là 4.050.000 kwh/năm. Nguồn điện được Điện lực thị xã Giá Rai hạ thế và cung cấp cho Công ty phục vụ nhu cầu sản xuất và sinh hoạt tại nhà máy.

-   Nguồn nước: Sử dụng 3 giếng khoan đang khai thác tại Công ty để phục vụ cho nhu cầu sản xuất và sinh hoạt. Tổng lượng nước sử dụng tối đa tại nhà máy là 190m3/ngày đêm (hiện tại Công ty đã có Giấy phép khai thác nước dưới đất số 15/GP-UBND cấp ngày 20/5/2021, thời hạn đến 20/5/2026, gồm 03 giếng, đường kính giếng khoan 90mm, chiều sâu 114m và 130m, lưu lượng khai thác 190m3/ngày đêm). Nhu cầu sử dụng như sau:

+ Nước dùng sản xuất: Với công suất 10,8 tấn sản phẩm/ngày đêm (mỗi năm hoạt động 360 ngày trừ lễ, tết) và lượng nước sử dụng là 15m3/tấn sản phẩm thì lượng nước cần sử dụng là 171,2 m3/ngày đêm (việc tính toán mỗi tấn sản phẩm tại công ty sử dụng lượng nước là 15m3/tấn sản phẩm là dựa vào theo dõi, định mức thực tế tại công ty và theo báo cáo xả nước thải vào nguồn nước đã được UBND tỉnh cấp tại Giấy phép xả thải số 35/GP-UBND ngày 18/8/2021).

+ Nước cấp sinh hoạt:

Nước dùng vệ sinh công nhân tham gia sản xuất tại Nhà máy: 300 người x 20 lít/người/ca = 6 m3/ngày đêm (theo TCVN 13606:2023)

+ Lượng nước dùng cho giải nhiệt các hệ thống cấp đông: 2m3/ngày đêm (lượng nước này tuần hoàn tái sử dụng không thải ra ngoài, khi nào bốc hơi thì châm bổ sung).

Như vậy, tổng lưu lượng nước khai thác từ giếng để sử dụng trong công ty khoảng 179,2 m3/ngày đêm.

5.Các thông tin khác liên quan đến cơ sở:

- Các hạng mục công trình chính của công ty.

Bảng 4. Các hạng mục công trình chính.

 

 

Stt

 

 

Hạng mục

Diện tích xây dựng (m2)

 

Thời gian thực hiện

Hạng mục công trình theo Đề án BVMT chi tiết đã được phê duyệt

Hạng mục xây dựng thực tế

1

Nhà xưởng sản xuất

2.146

2.146

2009

2

Nhà xưởng mở rộng

1.840

1.840

2015

Tổng

3.986

3.986

 

- Các hạng mục công trình phụ trợ của công ty.

Bảng 5. Các hạng mục công trình phụ trợ.

 

 

Stt

 

 

Hạng mục

Diện tích xây dựng (m2)

 

 

Thời gian thực hiện

Hạng mục công trình theo Đề án BVMT chi tiết đã được phê duyệt

 

Hạng mục xây dựng thực tế

1

Nhà để máy

78

78

2009

2

Nhà bảo vệ

14

14

2009

3

Kho lạnh 200 tấn

234

234

2009

4

Kho bao bì

198

198

2012

5

Kho bao bì

400

400

2012

6

Khu vực sửa chữa máy

móc

56

56

2012

7

Kho lạnh 400 tấn

421,2

421,2

2015

8

Căn tin

234

234

2015

9

Sân, đường, cây xanh,...

5.132

5.132

2009

Tổng

6.767,2

6.767,2

 

- Các hạng mục công trình xử lý chất thải và bảo vệ môi trường. Bảng 6. Các hạng mục công trình xử lý chất thải và bảo vệ môi trường.

Bảng 7. Tổng hợp diện tích đất sử dụng của Công ty

 

 

Sstt

 

 

Hạng mục

Diện tích xây dựng (m2)

 

 

Thời gian thực hiện

 

Tỷ lệ

%

Hạng mục công trình theo Đề án BVMT chi tiết đã được phê duyệt

Hạng mục xây dựng thực tế

1

Nhà xưởng sản xuất

2.146

2.146

2009

19,15

2

Nhà xưởng mở rộng

1.840

1.840

2015

16,42

3

Nhà để máy

78

78

2009

0,70

4

Nhà bảo vệ

14

14

2009

0,12

5

Kho lạnh 200 tấn

234

234

2009

2,09

6

Kho bao bì

198

198

2012

1,77

7

Kho bao bì

400

400

2012

3,57

8

Khu vực sửa chữa máy móc

56

56

2012

 

0,50

9

Kho lạnh 500 tấn

421,2

421,2

2015

3,76

10

Căn tin

234

234

2015

2,09

11

Sân, đường, cây xanh,...

5.132

5.132

2009

45,79

12

Hệ thống xử lý nước thải

168

168

2012

1,50

13

Kho chất thải nguy hại

15

15

2012

0,13

14

Kho chứa phế liệu bao bì

90

90

2012

0,80

15

Bể tách dầu

0,84

0,84

2012

0,01

16

Hệ thống xử lý nước thải sinh hoạt

121

121

2012

 

1,08

17

Kho vỏ đầu tôm xây mới

36

36

2016

0,32

18

Hệ thống xử lý khí thải lò hơi

24

24

2016

 

0,21

Tổng

11.208,04

11.208,04

 

 

- Danh mục máy móc, thiết bị tại công ty:

Bảng 8. Danh mục máy móc, thiết bị của nhà máy

 

TT

 

Tên thiết bị

 

ĐVT

Số lượng

Xuất xứ

Năm sản xuất

Tỷ lệ

(%)

1

Tủ đông gió công suất 700kg/mẻ

cái

1

Nhật

2009

80

2

Tủđông tiếp xúc công suất 700kg/mẻ

cái

2

Nhật

2009

80

3

Kho lạnh 200 tấn

cái

1

VN

2009

80

4

Máy đá vảy

cái

1

VN

2009

80

5

Máy phát điện dự phòng 500 KVA

cái

1

Mỹ

2009

80

6

Máy đóng gói 1000 túi/h

cái

2

VN

2009

80

7

Máy rửa nguyên liệu

cái

1

VN

2009

80

8

Máy giặt công nghiệp

cái

1

TQ

2010

80

9

Máy ra hàng block

cái

1

VN

2009

80

10

Bàn chế biến

cái

100

VN

2009

80

11

Hệ thống điều hòa

HT

1

VN

2009

80

12

Hệ thống điện kỹ thuật

HT

1

VN

2009

80

13

Xe đẩy phục vụ chế biến

cái

201

VN

2009

80

14

Máy do kim loại

cái

2

VN

2009

80

15

Trạm biến áp 500 KVA

cái

1

VN

2009

80

16

Thiết bị văn phòng

Bộ

10

VN

2009

80

17

Băng chuyền IQF công suất 500kg/h

cái

1

Nhật

2012

80

18

Tủ đông công suất 1000kg/mẻ

cái

1

Nhật

2012

80

19

Kho lạnh 500 tấn

cái

1

VN

2009

80

20

Băng chuyền IQF công suất 01 tấn/h

cái

1

Nhật

2015

80

21

Thiết bị luộc công suất 500kg/h

cái

1

VN

2015

80

22

Lò hơi 500kg/h

cái

1

VN

2015

80

- Hiện trạng quản lý, sử dụng đất của công ty: Hiện trạng tổng khu đất của Công ty là 11.208,04m2 theo: Giấy chứng nhận quyền sử dụng đất quyền sở hữu nhà ở và tài sản khác gắn liền với đất số BT587259 do UBND thị xã Giá Rai cấp ngày 06/6/2014. Giấy chứng nhận quyền sử dụng đất quyền sở hữu nhà ở và tài sản khác gắn liền với đất số BT834757 do UBND thị xã Giá Rai cấp ngày 30/10/2014. Giấy chứng nhận quyền sử dụng đất quyền sở hữu nhà ở và tài sản khác gắn liền với đất số BT834344 do UBND thị xã Giá Rai cấp ngày 08/10/2014. Giấy chứng nhận quyền sử dụng đất quyền sở hữu nhà ở và tài sản khác gắn liền với đất số BT587258 do UBND thị xã Giá Rai cấp ngày 06/6/2014. Giấy chứng nhận quyền sử dụng đất quyền sở hữu nhà ở và tài sản khác gắn liền với đất số BĐ220811 do UBND tỉnh Bạc Liêu cấp ngày 06/4/2011 cho công ty.

- Nguồn vốn: Tổng mức đầu tư của toàn dự án: 50 tỷ đồng. Trong đó kinh phí bảo vệ môi trường là 5.000.000.000 đồng.

- Tiến độ thực hiện nhà máy:

+ Giai đoạn nhà máy đi vào hoạt động: năm 2009.

Tổ chức hoạt động của công ty: Chủ đầu tư trực tiếp quản lý và thực hiện dự án.

Việc lập dự án đầu tư và báo cáo đề xuất cấp giấy phép môi trường (GPMT) đối với nhà máy chế biến thực phẩm thủy sản công suất 3.900 tấn/năm là một nội dung quan trọng nhằm đảm bảo hoạt động sản xuất được triển khai đúng quy định pháp luật, đồng thời kiểm soát hiệu quả các tác động đến môi trường. Trong bối cảnh ngành thủy sản là một trong những lĩnh vực xuất khẩu chủ lực, việc đầu tư nhà máy chế biến hiện đại, đảm bảo an toàn thực phẩm và thân thiện môi trường là yêu cầu tất yếu để nâng cao giá trị sản phẩm và năng lực cạnh tranh.

Dự án được triển khai với mục tiêu chế biến các sản phẩm từ tôm như tôm đông nguyên con, tôm nobashi, tôm vỏ, tôm IQF và tôm đông Block phục vụ thị trường trong nước và xuất khẩu. Với công suất 3.900 tấn sản phẩm mỗi năm, nhà máy được thiết kế theo hướng dây chuyền khép kín, kiểm soát chặt chẽ các công đoạn từ tiếp nhận nguyên liệu đến thành phẩm. Việc áp dụng công nghệ hiện đại không chỉ giúp nâng cao chất lượng sản phẩm mà còn góp phần giảm thiểu tiêu hao tài nguyên và phát sinh chất thải.

Trong nội dung lập dự án đầu tư, cần trình bày đầy đủ các thông tin cơ bản như tên dự án, chủ đầu tư, địa điểm xây dựng, diện tích sử dụng đất, quy mô công suất và các hạng mục công trình chính. Nhà máy chế biến thủy sản thường bao gồm các khu vực chức năng như khu tiếp nhận và sơ chế nguyên liệu, khu phân loại – chế biến, khu cấp đông, kho lạnh bảo quản, khu đóng gói, khu phụ trợ và khu hành chính. Việc bố trí mặt bằng cần đảm bảo quy trình sản xuất một chiều, đáp ứng yêu cầu nghiêm ngặt về vệ sinh an toàn thực phẩm và tránh nhiễm chéo.

Quy trình công nghệ chế biến tôm là nội dung cốt lõi của dự án. Nguyên liệu tôm sau khi tiếp nhận được kiểm tra chất lượng, rửa sạch, phân loại theo kích cỡ và mục đích chế biến. Tùy theo từng sản phẩm, tôm sẽ được bóc vỏ, cắt đầu, tạo hình (đối với tôm nobashi) hoặc giữ nguyên con. Sau đó, sản phẩm được cấp đông nhanh (IQF) hoặc đông block, rồi đóng gói và bảo quản trong kho lạnh trước khi xuất hàng. Toàn bộ quy trình được kiểm soát nghiêm ngặt về nhiệt độ và vệ sinh nhằm đảm bảo chất lượng và an toàn thực phẩm.

Trong báo cáo đề xuất cấp GPMT, việc nhận diện và đánh giá các nguồn phát sinh chất thải là nội dung quan trọng. Nước thải là nguồn tác động lớn nhất, phát sinh từ quá trình rửa nguyên liệu, vệ sinh thiết bị và khu vực sản xuất. Nước thải thường chứa chất hữu cơ, protein, dầu mỡ và vi sinh vật, nếu không được xử lý sẽ gây ô nhiễm môi trường nước. Ngoài ra, khí thải phát sinh từ hệ thống nồi hơi (nếu có) và mùi từ quá trình chế biến cũng cần được kiểm soát.

Chất thải rắn trong dự án bao gồm đầu, vỏ tôm, phụ phẩm chế biến, bùn thải từ hệ thống xử lý nước thải, bao bì và rác sinh hoạt. Một phần phụ phẩm có thể được tận dụng để sản xuất thức ăn chăn nuôi hoặc các sản phẩm phụ khác, góp phần giảm thiểu lượng chất thải. Tuy nhiên, các loại chất thải còn lại cần được phân loại, thu gom và xử lý theo đúng quy định. Một số chất thải như hóa chất vệ sinh, dầu mỡ thải có thể được xếp vào nhóm chất thải nguy hại và cần được quản lý riêng biệt.

Để giảm thiểu tác động môi trường, dự án cần áp dụng các biện pháp kỹ thuật đồng bộ. Đối với nước thải, cần xây dựng hệ thống xử lý nước thải tập trung với các công đoạn như tách rác, tách dầu mỡ, điều hòa, xử lý sinh học hiếu khí và khử trùng. Nước thải sau xử lý phải đạt quy chuẩn kỹ thuật trước khi xả ra môi trường. Đối với khí thải, cần sử dụng nhiên liệu sạch và lắp đặt hệ thống xử lý phù hợp nếu cần thiết.

Mùi phát sinh trong quá trình chế biến cần được kiểm soát thông qua hệ thống thông gió, hút mùi và vệ sinh thường xuyên khu vực sản xuất. Việc duy trì môi trường sản xuất sạch sẽ không chỉ giúp giảm ô nhiễm mà còn đảm bảo chất lượng sản phẩm.

Chất thải rắn cần được phân loại tại nguồn, thu gom và xử lý hợp lý. Phụ phẩm tôm nên được tận dụng hoặc chuyển giao cho đơn vị có chức năng tái chế. Đối với chất thải nguy hại, cần có khu lưu giữ riêng biệt, đảm bảo an toàn và được chuyển giao cho đơn vị xử lý được cấp phép.

Một nội dung quan trọng trong hồ sơ GPMT là kế hoạch quản lý và giám sát môi trường. Dự án cần xây dựng chương trình quan trắc định kỳ đối với nước thải, khí thải, tiếng ồn và các yếu tố môi trường khác. Kết quả quan trắc là cơ sở để đánh giá hiệu quả của các biện pháp bảo vệ môi trường và đảm bảo tuân thủ quy định pháp luật.

Ngoài ra, cần xây dựng kế hoạch phòng ngừa và ứng phó sự cố môi trường. Các sự cố có thể xảy ra bao gồm rò rỉ nước thải, sự cố hệ thống xử lý, mất điện ảnh hưởng đến kho lạnh hoặc cháy nổ. Do đó, nhà máy cần trang bị đầy đủ thiết bị an toàn, xây dựng quy trình ứng phó và tổ chức huấn luyện định kỳ cho người lao động.

Từ góc độ phát triển bền vững, dự án cần chú trọng đến việc tiết kiệm nước, năng lượng và tận dụng phụ phẩm. Việc áp dụng các giải pháp sản xuất sạch hơn, tái sử dụng nước và tối ưu hóa quy trình sản xuất sẽ giúp giảm chi phí và giảm tác động môi trường. Đồng thời, việc tuân thủ các tiêu chuẩn quốc tế về an toàn thực phẩm và môi trường sẽ giúp sản phẩm đáp ứng yêu cầu của các thị trường xuất khẩu khó tính.

Tổng thể, việc lập dự án đầu tư và báo cáo đề xuất cấp giấy phép môi trường cho nhà máy chế biến thủy sản công suất 3.900 tấn/năm là một quá trình đòi hỏi sự kết hợp chặt chẽ giữa kỹ thuật, quản lý và pháp lý. Một hồ sơ được xây dựng đầy đủ, khoa học và phù hợp với thực tiễn sẽ giúp dự án được phê duyệt thuận lợi, đồng thời tạo nền tảng cho hoạt động sản xuất hiệu quả, an toàn và bền vững trong dài hạn.

>>> XEM THÊM: Thuyết minh lập dự án nhà máy chế biến xuất khẩu trái cây

GỌI NGAY 0903 649 782
ĐỂ ĐƯỢC TƯ VẤN 

CÔNG TY CỔ PHẦN TƯ VẤN ĐẦU TƯ & THIẾT KẾ XÂY DỰNG MINH PHƯƠNG 

Địa chỉ: 28B Mai Thị Lựu - Khu phố 7, Phường Tân Định, TP.HCM

Hotline:  0903 649 782 - 028 3514 6426

Email:  nguyenthanhmp156@gmail.com , 

Website: www.minhphuongcorp.com

Bình luận (0)

Gửi bình luận của bạn

Captcha